Robust Class 800 A105 Forged Steel Gate Valve from 1/2" to 2" NPT with rising stem manual hand wheel. Suitable for pressures up to 136 Bar depending upon media temperature (See chart below) and type. Suitable for use across Petrochemical, Steam, Mining and Industrial applications Designed to API602 with NPT ends to ASME B1.20.1 and tested to API598.

Model Size (NPT) Design Pressure Media Temperature Weight (kg)
GVF8-04 1/2" 13.62 MPa @ -29°C ~ 35°C 454°C @ 5.5 MPa 2.22
GVF8-05 3/4" 2.39
GVF8-06 1" 4.24
GVF8-07 1 1/4" 5.7
GVF8-08 1 1/2" 7.05
GVF8-09 2" 10.9

Class 800 Forged Steel Gate Valve Construction

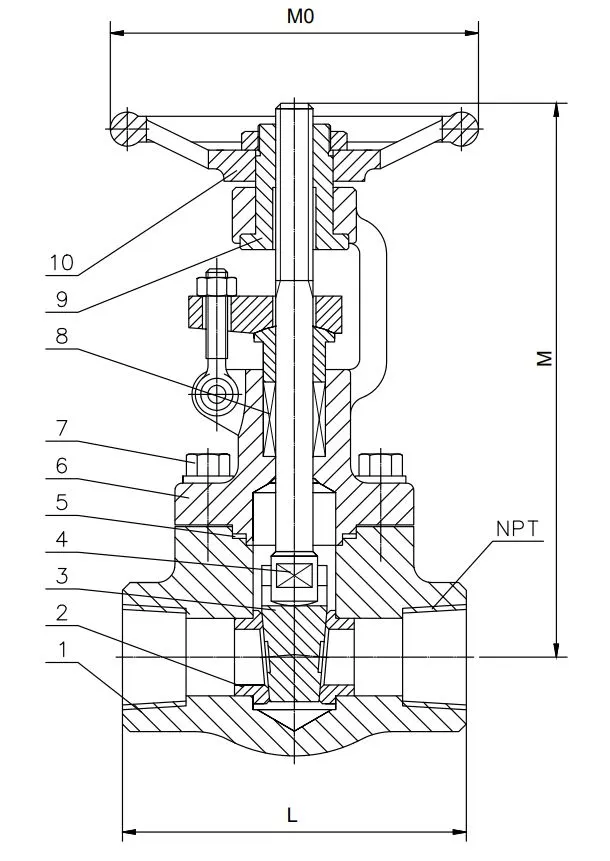
Model Size (NPT) L M M0
GVF8-04 1/2" 79 155 100
GVF8-05 3/4" 92 155 100
GVF8-06 1" 111 176 125
GVF8-07 1 1/4" 120 200 160
GVF8-08 1 1/2" 120 220 160
GVF8-09 2" 140 255 180

All dimensions in mm unless shown otherwise. 

Class 800 Forged Steel Gate Valve Dimensions

Number Part Name Material
1 Body ASTM A105
2 Seat ASTM A276-420
3 Wedge Disc ASTM A276-420
4 Stem ASTM A276-410
5 Gasket Flexible Graphite/304
6 Bonnet ASTM A105
7 Bonnet Bolt ASTM A193 Gr.B7
8 Packing Flexible Graphite
9 Stem Nut 1045
10 Handwheel ASTM A197

 

Size 1/2" to 2" NPT
Body Forged Steel
Seat Metal
Pressure Range 0 to 136 BAR

You May Also Like

Product History